مقدمة المنتج
تتميز القضبان الثقيلة GB بوزن نظري أكبر من أو يساوي 50 كجم لكل متر كمواصفات أساسية ، وهي مصنوعة من الصلب الكربوني عالي الجودة أو الفولاذ المنخفض. أثناء عملية الإنتاج ، يجب أن يمروا عبر صناعة الصلب المحول ، والتكرير خارج الفرن ، والصب المستمر وغيرها من عمليات الصهر لضمان تلبية نقاء البليت الصلب المعيار ؛ ثم يتم لفها وتشكيلها بواسطة مصانع التدحرج الساخنة عالية الدقة ، ويتم التحكم في التحمل الأبعاد لارتفاع السكك الحديدية ، وعرض أسفل ، وعرض الرأس ، وما إلى ذلك. يجب أن تجتاز المنتجات النهائية اختبارات متعددة مثل الكشف عن عيب بالموجات فوق الصوتية واختبار الشد. لديهم قوة عالية ، ومقاومة عالية التآكل ومتانة جيدة ، وتستخدم على نطاق واسع في سيناريوهات النقل مثل السكك الحديدية الجذع والسكك الحديدية الحمولة الثقيلة.
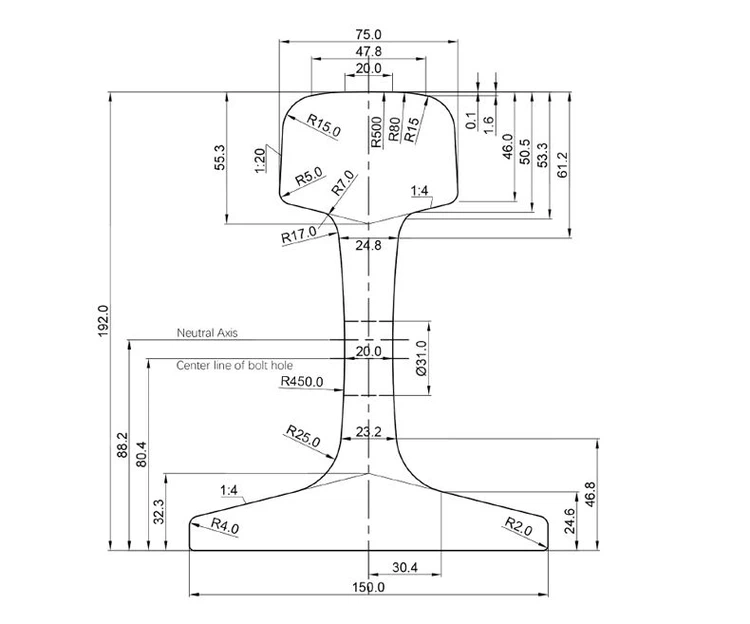
القضبان التي تزن 75 كجم لكل متر هي قضبان ثقيلة ، وعادة ما تستخدم لخطوط الجذع للسكك الحديدية ، والسكك الحديدية الشاقة أو المسارات الخاصة (مثل المناجم ، والمنافذ ، وما إلى ذلك). يتم تحسين صلابة وصدة القضبان من خلال المتداول الساخن ، التبريد وغيرها من العمليات. على سبيل المثال ، يمكن أن تحسن "القضبان الكاملة التي تم تبريدها" بشكل كبير مقاومة التآكل.

الأداء الرئيسي
● قوة الشد: أكبر من أو تساوي 880 ميجا باسكال (U71mn كمثال) ، مما يضمن أنه يمكن أن يقاوم أحمال القطار.
● ارتداء المقاومة: صلابة السطح (مثل صلابة Brinell) يمكن أن تصل إلى 280-350 HB ، مما يقلل من التآكل على العجلات والمسارات.
● مقاومة التعب: التكيف مع التدحرج المتكرر بواسطة القطارات وتقليل خطر تكسير المسار.
مواصفات المنتج

تطبيق المنتج


تعبئة المنتجات والتسليم
في عبوات التجارة الخارجية ونقل القضبان الثقيلة GB ، يعد ربط الصلب الخطوة الأساسية والهمية. يتم تحديد كل مجموعة من القضبان الثقيلة {0}} أولاً في كلا طرفي القضبان بأسلاك فولاذية ذات سمك معتدلة لمنع الخلع أثناء النقل ، ثم المترابط مع الأشرطة الفولاذية لعرض {3}} mm. يتم التحكم في قوة تشديد الأشرطة الفولاذية في 1200-1500 n لضمان عدم تخفيف القضبان أثناء التحميل والتفريغ والنقل. بعد الانتهاء من التجميع ، قم برش الزيت المضاد للوقوف على الفور. بعد أن يتم اختراق الزيت المضاد للكتاب بالكامل وتجفيفه ، يتم لف الحزمة الكاملة من القضبان بإحكام مع فيلم بلاستيكي من 0. {8}}. 15 مم لمنع الرطوبة والغبار.


تركز JNEE Rail على توفير حلول مادية شاملة لبناء نقل السكك الحديدية الدولي. لقد أنشأنا نظامًا صناعيًا كاملًا من شراء المواد الخام وإنتاجها ومعالجتها إلى التوزيع العالمي ، وقد مررت منتجاتنا شهادات دولية متعددة مثل ISO9001. لدينا فريق تجاري دولي محترف يمكنه توفير حلول منتجات مخصصة وفقًا لمتطلبات مشروع العميل والاعتماد على شبكة لوجستية عالمية لتحقيق تسليم فعال. مع سنوات من الخبرة في الصناعة ، أنشأنا شبكة خدمات تغطي الأسواق الرئيسية ونتالع بتزويد العملاء بخدمات إمداد منتجات السكك الحديدية الثقيلة ذات الدورة الكاملة.







الوسم : 75 كجم من الفولاذ الثقيل من النوع الثقيل ، الصين 75 كجم من النوع الثقيل المصنّعين للموردين والموردين والمصنع






